首页
媒体中心
产品中心
电气火灾监控系统
防火门监控系统
机械应急强启装置
数字智能消防巡检设备
消防设备电源监控系统
消防应急照明及疏散指示系统
消防增压稳压给水设备
智能末端试水系统
智能配电仪表
智能余压监控系统
消防物联网给水系统
早期火灾预警系统
高压消防泵巡检系统
消防物联网远程监控系统
数字智能高压消防泵巡检及控制系统
消防风机机电一体化监控系统
早期火灾预警及灭火系统
经典案例
关于我们
公司概况
联系我们
新闻动态
全国各省份认证证书数分布
发布时间:
2019-08-20
点击次数:
1238
截至2019年7月,我国有效认证证书数为216万,获证企业数67万。其中证书数10万以上的省份四个,分别为广东415099张、
浙江
296101
张
、江苏296026张和山东156566张。
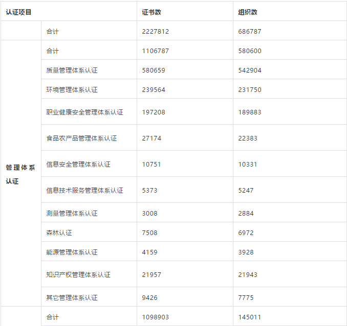
二、领域分布
2019年7月获证证书按领域统计情况
三、地域分布
2019年7月获证证书按地域统计情况